Mainco Wire Ropes Ltd.

Wire Rope Specialist

MainCo Wire Ropes...

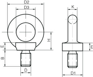
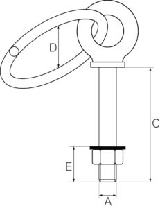
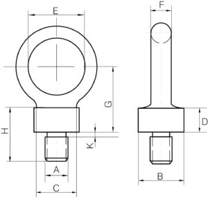
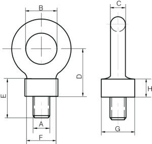
Eyebolts